TECNOLOGIA DE LA CONFECCION TEXTIL
(C) Maria de Perinat, 1997 
 (C) EDYM, España, 1997
Tercera Parte
La confección
Capítulo 20
El cosido a máquina (Continuación) 
2. Puntadas normalizadas en el cosido a máquina (Continuación)
Explicación de los gráficos de tipos de puntada
1º En todos los gráficos la puntada empieza por la parte superior derecha y avanza abajo e izquierda. 2º Todas las lazadas que atraviesan el tejido están dibujadas con trazos de hueco blanco y señaladas con dígitos (1, 2, 3, 4) de arriba abajo. 3º Los hilos que entrelazan y / o encadenan están dibujados con trazo rayado y son señalados con letras minúsculas a, b, c, d. 4º Los hilos tendidos de la Clase 600 están señalados con las letras minúsculas z,  y, dibujados con trazo rayado. 5º Los gráficos de puntada para cosido de orillo (en torno a un borde del material a coser), el material a coser se ha perfilado con línea continua.
CLASE ISO 100
Tipos de puntada de cadeneta simple.
Estos tipos de puntada se forman con uno o vanos hilos, de los cuales al menos uno está encadenado consigo mismo. Una lazada del hilo o lazadas de los hilos son conducidas a través del material de costura y aseguradas por la o las lazadas subsiguientes.
PUNTADA  ISO 101
PUNTADA  ISO 104
CLASE ISO 200
Tipos de pespunte simple (manual). Estos tipos de puntada realizados tradicionalmente con un hilo se hacen también a máquina. En este caso, el hilo se asegura por el material a coser.
PUNTADA ISO 201
PUNTADA ISO 202
PUNTADA ISO 204
PUNTADA ISO 209
CLASE ISO 300
Tipos de pespunte, doble.
Son tipos de puntada formados con dos sistemas de hilo. Las lazadas del primer sistema de hilo son conducidas a través del material de costura y fijadas por el segundo sistema de hilo.  El acopio de hilo del segundo sistema es conducido por las lazadas del primero.
PUNTADA ISO 301
PUNTADA ISO 304
PUNTADA ISO 306
PUNTADA ISO 308

PUNTADA ISO 309
PUNTADA ISO 310
PUNTADA ISO 313
PUNTADA ISO 314
PUNTADA ISO 317
PUNTADA ISO 318
PUNTADA ISO 319
PUNTADA ISO 320
CLASE ISO 400
Tipo de puntada de cadeneta doble.
También hay dos sistemas de hilo. Las lazadas del primer sistema de hilo son conducidas a través del material de costura y fijadas por las lazadas del segundo sistema.
PUNTADA ISO 401
PUNTADA ISO 402
PUNTADA ISO 403
PUNTADA ISO 404
PUNTADA ISO 406
PUNTADA ISO 407
CLASE ISO 500
Tipos de puntada orilladora de cadeneta.
Con uno o dos sistemas de hilos. Las lazadas de un sistema de hilo son conducidas a través del material de costura y fijadas por encadenamiento consigo mismas o con el otro sistema de hilo; al menos las lazadas de uno de los sistemas de hilo se tienden en torno al borde (orillo) del material a coser.
PUNTADA ISO 501
PUNTADA ISO 502
PUNTADA ISO 503
PUNTADA ISO 504
PUNTADA ISO 505
PUNTADA ISO 506
PUNTADA ISO 507
PUNTADA ISO 509
PUNTADA ISO 512
PUNTADA ISO 514
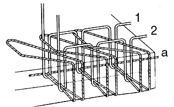
CLASE ISO 600
Tipos de puntada de cadeneta superpuesta (cara superior o inferior del material de costura).
Son tipos de puntada formadas con tres sistemas de hilo. Lazadas eventuales del primer sistema son conducidas a través de las lazadas de uno o de varios hilos del tercer sistema, que ya están tendidas sobre el material de costura, al cual atraviesan, para ser encadenadas al fin con las lazadas de uno o de varios hilos del segundo sistema en la cara inferior del material de costura.
PUNTADA ISO 602
PUNTADA ISO 603
PUNTADA ISO 604
PUNTADA ISO 605
PUNTADA ISO 607
PUNTADA ISO 608
Volver a puntadas normalizadas (Capítulo 20)